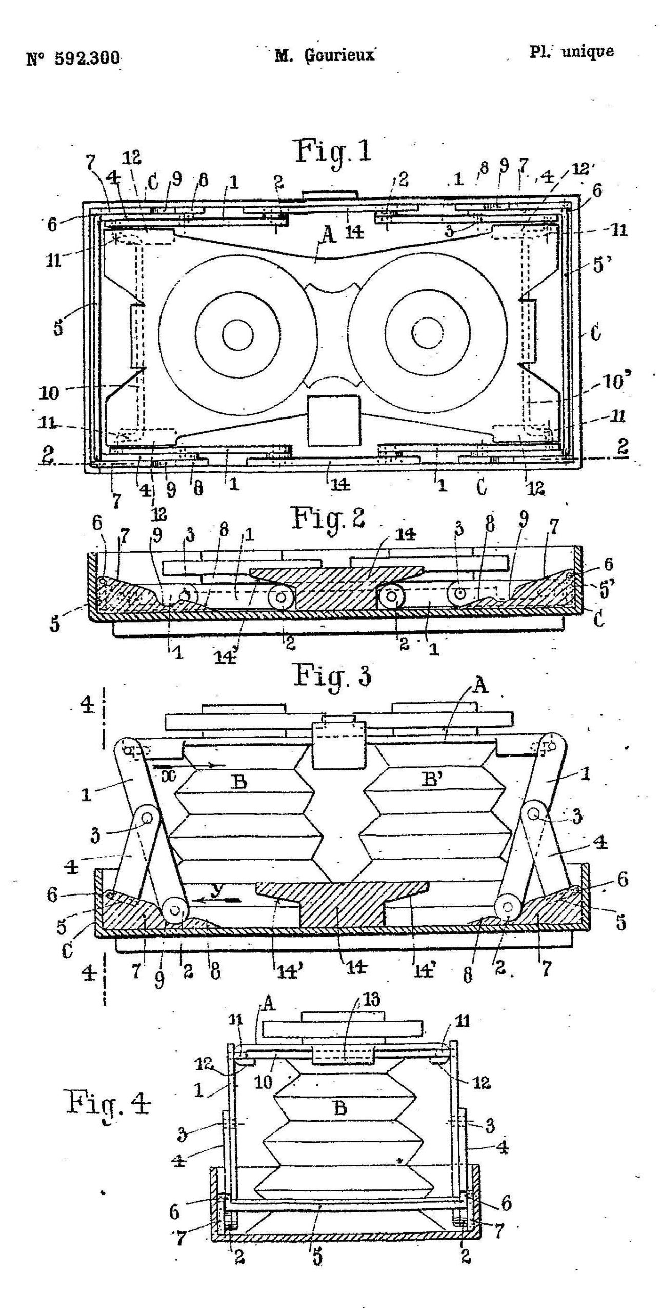
Le Kaliscope 6x13 est breveté en 1925 par Gaston Gourieux. Il se distingue particulièrement de par son système de tendeurs. Il est présenté ainsi dans la presse spécialisée de l’époque : « Jumelle stéréoscopique 6x13. Modèle pliant entièrement en métal, doté d’un nouveau système de tendeurs à arc-boutant donnant le blocage absolu. Ouverture automatique sous la pression d’un bouton poussoir. Obturateur à vitesses variables. Mise au point. Objectif Topaz Boyer 1 :6,3. Soufflet peau. ». Niveau d'eau. Appareil peu courant
En poursuivant votre navigation, vous acceptez l’utilisation de cookies destinés à collecter des informations pour améliorer votre navigation, et mesurer l’audience de notre site. En savoir plus
Ce site Web utilise des cookies pour améliorer votre expérience pendant que vous naviguez sur le site Web. Parmi ces cookies, les cookies classés comme nécessaires sont stockés sur votre navigateur car ils sont essentiels au fonctionnement des fonctionnalités de base du site Web. Nous utilisons également des cookies tiers qui nous aident à analyser et à comprendre comment vous utilisez ce site Web. Ces cookies ne seront stockés dans votre navigateur qu'avec votre consentement. Vous avez également la possibilité de désactiver ces cookies. Mais la désactivation de certains de ces cookies peut avoir un effet sur votre expérience de navigation.
Necessary cookies are absolutely essential for the website to function properly. This category only includes cookies that ensures basic functionalities and security features of the website. These cookies do not store any personal information.
Any cookies that may not be particularly necessary for the website to function and is used specifically to collect user personal data via analytics, ads, other embedded contents are termed as non-necessary cookies. It is mandatory to procure user consent prior to running these cookies on your website.